聚丙烯離子交換柱 -->>聚丙烯離子交換柱

離子交換柱主要是利用離子交換樹脂中的離子同原水(液體)中的某些離子進行交換而將其除去,使水(液體)得到凈化的方法。
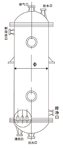
他已廣泛應用于化工、電子、醫藥、紡織、電鍍行業的制取純水、硬水軟化、藥物和食品的脫色和提取、重要化工原料的回收以及污水處理等,聚丙烯離子交換器(柱)技術參數及外形尺寸:
設備特性:一、工作壓力:≤2MPa
二、工作溫度:-12~120℃
| 設備外形尺寸 |
|
名稱 |
陰、陽、鈉單床
|
體內再生混床
|
|
規格 |
ф250 |
ф315 |
ф400 |
ф500 |
ф630 |
ф800 |
ф250 |
ф315 |
ф400 |
ф500 |
ф630 |
ф480 |
|
設計 流量 m3/h |
1 |
1.5 |
2.5 |
4 |
6 |
8 |
2 |
3 |
4.5 |
7 |
1.2 |
8 |
|
注體高 |
2500 |
2500 |
2500 |
2500 |
2500 |
2500 |
2500 |
2500 |
2500 |
2500 |
2500 |
2500 |
|
總高 (H) |
2830 |
2960 |
2930 |
2990 |
3080 |
3200 |
2830 |
2860 |
2930 |
2990 |
3080 |
3200 |
|
進水口 (Dg) |
20 |
20 |
25 |
25 |
32 |
65 |
25 |
25 |
32 |
40 |
50 |
65 |
|
出水口 (Dg) |
20 |
20 |
25 |
25 |
32 |
65 |
25 |
25 |
32 |
40 |
50 |
65 |
|
排氣品 (Dg) |
20 |
20 |
20 |
20 |
25 |
40 |
25 |
25 |
25 |
32 |
40 |
40 |
|
清洗口 (Dg) |
25 |
25 |
32 |
32 |
40 |
50 |
32 |
32 |
40 |
40 |
50 |
50 |
|
樹脂進出口 (Dg) 排凈口 |
32 |
32 |
32 |
40 |
40 |
50 |
32 |
32 |
32 |
40 |
50 |
50 | |